- Поисковые системы
- Практика оптимизации
- Трафик для сайтов
- Монетизация сайтов
- Сайтостроение
- Социальный Маркетинг
- Общение профессионалов
- Биржа и продажа
- Финансовые объявления
- Работа на постоянной основе
- Сайты - покупка, продажа
- Соцсети: страницы, группы, приложения
- Сайты без доменов
- Трафик, тизерная и баннерная реклама
- Продажа, оценка, регистрация доменов
- Ссылки - обмен, покупка, продажа
- Программы и скрипты
- Размещение статей
- Инфопродукты
- Прочие цифровые товары
- Работа и услуги для вебмастера
- Оптимизация, продвижение и аудит
- Ведение рекламных кампаний
- Услуги в области SMM
- Программирование
- Администрирование серверов и сайтов
- Прокси, ВПН, анонимайзеры, IP
- Платное обучение, вебинары
- Регистрация в каталогах
- Копирайтинг, переводы
- Дизайн
- Usability: консультации и аудит
- Изготовление сайтов
- Наполнение сайтов
- Прочие услуги
- Не про работу
Все что нужно знать о DDоS-атаках грамотному менеджеру
И как реагировать на "пожар", когда неизвестно, где хранятся "огнетушители
Антон Никонов
Мог ли Мартин Купер, инженер из Моторола, представить, что через 40 лет после его первого в мире мобильного телефонного звонка миллионы зомбированных яблодрочеров назовут "slide to unlock" величайшим открытием современности, которое полностью изменило течение истории 🍿
миллионы зомбированных яблодрочеров назовут "slide to unlock" величайшим открытием современности, которое полностью изменило течение истории
Это андроидофилы преувеличивают. :) Опять выдумки. Эх. Если бы не Slide to unlock и подобное, что бы было в вашем Android? :D
Если бы не Motorola придумала, тогда бы Apple намного лучше. ;) Кто зна, может Motorola это все дело испохабила.
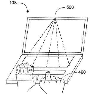
Google копирует изображения из патентных заявок Apple
Издание PatentlyApple уличило интернет-гиганта Google в копировании интеллектуальной собственности Apple.
В новой патентной заявке Google, поданной 18 июля в Бюро по регистрации патентов и торговых марок США, используется изображение из патента Apple. Иллюстрация была позаимствована из патента Apple под номером 8 098 233.
(Первая картинка - патент Google от 18 июля 2013 года, вторая - иллюстрация к патенту Apple от 17 января 2012 года).
Как видно, картинка из патента Google полностью повторяет изображение от Apple.
Напомним, что Apple неоднократно обвиняла Google в копировании ее интеллектуальной собственности. В свое время Стив Джобс заявлял, что Google в своей операционной системе Android копирует разработки Apple.
Даже картинку умудрились изуродовать. 😂
миллионы зомбированных яблодрочеров
К чему эти срачи? Надо как Антон Борисыч Носик. Распихал по карманам 6-8 всяких айфонов, айпадов и андроидов и ни с кем не срецца. :)
Разницу между проектирует и "пояет" знаете? Это как бы вам платье шьет Louis Vuitton по эскизам Channel. :) Шили другие, но ведь это Channel, правда? :) Больше не знаю как объяснить, даме.
Даме желательно с тестами и техническими характеристиками. И про платья не надо, у вас не получилось:) Не хочу забивать тему рассуждениями о платьях и пошиве, но в слове Chanel одна буква "L" :) И не надо путать китайские подпольные фабрики и дома моды.
Если бы не Motorola придумала, тогда бы Apple намного лучше.
Ну, начнем с того, что Эппл в 70-х компы на коленке собирал и толкал по спекулятивным ценам. Сейчас таких "Эпплов" в каждой деревне по три штуки.
Но можно попробовать уйти от реальности в розовые мечты грушеподобных.
Итак, давайте представим, что у бабушки есть буй и она стала спасателем Малибу.
1974 год Эппл создает первый в мире мобильный телефон и Джобс делает пробный звонок в офис Самсунга. Ну, чтобы телевизор домой заказать. И стиралку. Позже в своих мемуарах Стив напишет, что техника с авиадоставкой из Кореи обошлась ему в $300. А за звонок компания заплатила $40 000, что чуть не обанкротило молодое предприятие.
20 минут спустя в патентное бюро США поступает заявка с изображением технически сложного устройства прямоугольной формы, которое держат правой рукой у правого уха, при этом издавая ртом и улавливая ухом различные звуки. Также запатентировано технически не менее сложное устройство аналогичной формы и функций, которое держат левой рукой у левого же уха.
1990 год Эппл - самая богатая компания в мире. 80% денег компании приносят судебные иски по поводу нарушения авторских прав производителями бумбоксов, которые стали к этому времени крайне популярны. Еще 19,99% - относительно небольшой, но стабильный денежный поток от производителей слуховых аппаратов. 0,001% - сборка и продажа компьютеров.
1991 год Инженер компании Моторола усовершенствует пейджер и отправляет первое в мире СМС сообщение. Так началась эра мобильных телемесседжей...
Млин, простите, забыл.
2007 год Компания Эппл демонстрирует миру свой телемесседж с блекджеком и шлюхами функцией "slide to unlock" и патентует прямоугольник со скругленными углами.
2008 год По миру прошла волна самоубийств шеф-директоров компаний-производителей мыла. Кстати, их потомки будут выплачивать судебные иски до 7-8 колена. Крематории ликуют - разорились все фирмы по производству гробов. В ИКЕА набирают популярность треугольные диваны. И лишь китайские пираты все еще позволяют себе делать кирпичи запатентованной формы.
Вот срачельник. Почему-то никто не сказал, что ВСЕ производители мобил выпускают говно намеренно и с каждым годом это говно чуть-чуть улучшают.
Я за свою жизнь ещё ни разу не держал телефон, который бы полностью меня устраивал. Какой крутой телефон не возьми, но везде найдётся какой-нибудь баг или какая-нибудь недоработка, причём такая банальная и очевидная, что прямо взять и кирпичом по башке ушатать разработчику охота и ещё потом молоточком в висок ему, лопатой по копчику и топором по коленке.
Эппл развращает :)
Американец обвиняет Apple в своей порнозависимости
Я за свою жизнь ещё ни разу не держал телефон, который бы полностью меня устраивал.
Такой держали? Обычно он всех устраивал.
Какой крутой телефон не возьми, но везде найдётся какой-нибудь баг или какая-нибудь недоработка, причём такая банальная и очевидная, что прямо взять и кирпичом по башке ушатать разработчику охота и ещё потом молоточком в висок ему, лопатой по копчику и топором по коленке.
в эппл нет багов. иос - идеальная ось. в топике ж написано ☝
в эппл нет багов. иос - идеальная ось. в топике ж написано ☝
А если и есть, то это не баг - а фича! Так было задуманно специально и Эппл это сам изобрел!