16 июля 2020 года Google опубликовал патентную заявку на персонализированное хранилище сущностей (Personalized Entity Repository) в Сети знаний. Об этом сообщил эксперт по патентам Google Билл Славски.
Разработки в этой области Google ведёт уже около 15 лет. Так, в 2006 году компания запатентовала Browseable Fact Repository, который являлся ранней версией будущей системы.
Новый патент, опубликованный в июле, содержит больше информации о персонализированном хранилище в рамках Сети знаний, чем документ по Browseable Fact Repository. С 2006 года в том, как Google обрабатывает факты и использует информацию о сущностях, многое изменилось.
- Персонализированные подсказки и помощь за счёт использования Personalized Entity Repository
Цель патента – обеспечение лучшего пользовательского опыта за счёт понимания просмотренного контента и выполненных действий. Это предполагает идентификацию и классификацию сущностей, распознанных в контенте на экране мобильного устройства.
Эти сущности могут находиться в хранилище сущностей, таком как база знаний, где хранятся факты и информация о сущностях.
- Преимущества использования персонализированного хранилища сущностей
Создание фиксированных наборов сущностей позволяет системе предоставлять персональные или кастомизированные репозитории сущностей.
Эти репозитории могут помочь с анализом текста и изображений на устройстве и обеспечить возможности для помощи пользователю даже при отсутствии подключения к сети.
Система может прогнозировать, какие наборы сущностей являются наиболее релевантными, исходя из нескольких факторов, специфичных для пользователя и/или персонального вычислительного устройства: местоположения, времени дня, сигналов из других вычислительных устройств, связанных с пользователем или известных устройству, недавней активности на устройстве и т.д.
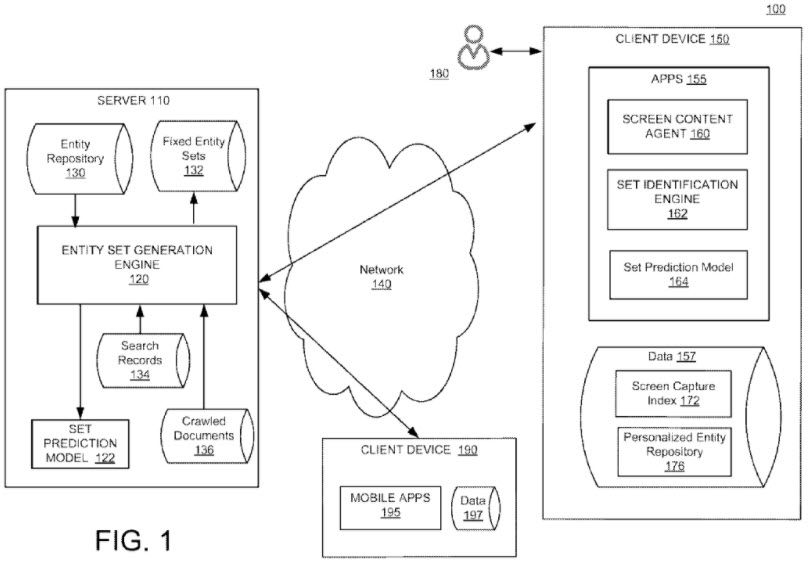
Структура персонализированных хранилищ сущностей:

Согласно патенту, система может определить наборы на сервере и предоставить устройству только те их них, которые релевантны для пользователя.
Эти наборы, скачиваемые на устройство, представляют собой персонализированные хранилища сущностей, доступ к которым возможен без подключения к серверу.
Клиентское устройство может включать движок для идентификации наборов. Тот в свою очередь может содержать прогнозную модель, которая определяет один или несколько наборов, учитывая текст, изображения и другие элементы.
Прогнозная модель может использоваться для определения того, какие наборы сущностей являются наиболее полезными для пользователя.
Персонализированные хранилища сущностей строятся из предварительно вычисленных или фиксированных наборов сущностей по мере того, как пользователь использует мобильное устройство.
Если пользователь ищет информацию о поездке на Гаваи, то репозиторий может наполняться информацией о сущностях, связанных с Гаваями.
Информация в персонализированных репозиториях со временем обновляется:
- Система определяет, какие наборы наиболее полезны и обновляет репозиторий таким образом, чтобы оставшиеся сущности были релевантны пользователю;
- Менее релевантные наборы удаляются, а более релевантные – добавляются;
- Система определяет сущности в контенте, генерируемом для отображения на устройстве, для персонализации пользовательского опыта на этом устройстве;
- Система способна персонализировать пользовательский опыт через прогнозирование действий, тем, слов, фраз и т.д.
Репозиторий сущностей – это база знаний, в которой хранится информация о сущностях в форме связей между сущностями.
В целом новая система позволит пользователям получать более персонализированный опыт взаимодействия на мобильных устройствах.
Материалы по теме: