18 сентября был опубликован патент Google на классификацию поискового спама «Классификация ресурсов с использованием самообучающейся сети» (Classifying Resources Using a Deep Network ). Об этом сообщает SEO-эксперт Билл Славски (Bill Slawski).
Запатентованная технология была изобретена разработчиками компании Цинчжоу Ван (Qingzhou Wang), Ю Лян(Yu Liang), Ке Ян (Ke Yang) и Кай Чэнь (Kai Chen).
Последние несколько лет лидер поиска был занят построением самообучающейся сети, известной как Google Brain.
Google Brain – неофициальное название исследовательского проекта Google, посвященного глубокому обучению (Deep Learning). В рамках этого проекта исследователи компании смогли создать примерную модель работы нейронов головного мозга – «нейрональную» самообучающуюся сеть, соединив 16,000 процессоров и подключив её к сети Интернет. Полученная система сумела самостоятельно обучиться распознавать образ котов.
Теперь компания использует эти технологии для идентификации поискового спама, что нашло выражение в разработке патента на его классификацию.
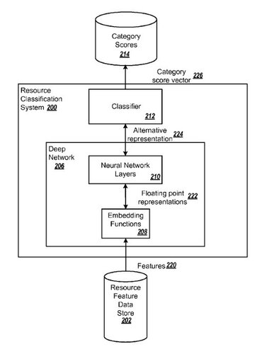
Патент описывает методы, которые включают:
- прием входящей информации, содержащей множество характеристик ресурса, в котором каждая характеристика – это значение соответствующего атрибута ресурса;
- обработку каждой характеристики, используя соответствующую функцию вложения для генерации одного или нескольких числовых значений;
- обработку числовых значений, используя один или несколько нейронных сетевых уровней для создания альтернативного представления о характеристиках ресурса, в котором обработка значений с эластичными параметрами включает применение к ним одного или нескольких нелинейных преобразований;
- обработку альтернативного представления входа с использованием классификатора для генерации соответствующей оценки для каждой категории в их заранее определенном наборе, где каждая из соответствующих оценок измеряет прогнозированную вероятность, что ресурс принадлежит к соответствующей категории.
«Предопределенный набор категорий» может включать категорию спама поисковых систем. Оценка категории (category score) для ресурса измеряет предсказанную вероятность, что ресурс является поисковым спамом.
Предопределенный набор категорий может включать в себя соответствующую категорию для каждого из множества типов поискового спама.
Оценки категорий могут быть использованы для:
- определения, следует ли добавлять эти ресурсы в индекс поисковых систем;
- генерирования и упорядочивания результатов поиска в ответ на поисковые запросы.
Самообучающаяся сеть может быть эффективно использована для классификации ресурсов в категории. Например, ресурсы могут быть классифицированы как являющиеся или не являющиеся спамом, как являющиеся одним из нескольких видов спама или как один из двух и больше типов ресурсов.
«Использование самообучающейся сети для классификации ресурсов по категориям может привести к тому, что поисковые системы будут способны лучше удовлетворить информационные потребности пользователей путем эффективного определения поискового спама и воздержания от предоставления поисковых результатов, определяющих такие ресурсы, пользователям. Или же они смогут предоставить поисковые результаты, которые идентифицируют ресурсы, принадлежащие к категориям, лучше соответствующим информационным потребностям пользователя» - поясняют разработчики в патенте.
Согласно патенту, эта система классификации ресурсов может типизировать ресурсы как «поисковый спам или не поисковый спам». Она не определяет детали веб-спама, но говорит о том, что может выделить его типичные виды, такие как:
- контент-спам;
- ресурсы, содержащие ссылочный спам;
- ресурсы, использующие клоакинг;
- и т.д.
Ресурсы на страницах сайта могут включать слова из контента сайта в символьной форме; URL-ы сайта; его тайтл; имя домена; категории или типы объектов, относящиеся к сайту; его возраст. Каждая из этих характеристик может быть использована для расчета вероятности того, что сайт является спам-ресурсом, и определения, индексировать его или понижать в выдаче.
Патент не предоставляет деталей относительно обучения и классификации характеристик в рамках модели машинного обучения, но ссылается на документ, который дает эту информацию: Large Scale Distributed Deep Networks.
